看见笑脸
发表于2016-2-19
1949人浏览
1人跟帖 等级:
来自:主体结构
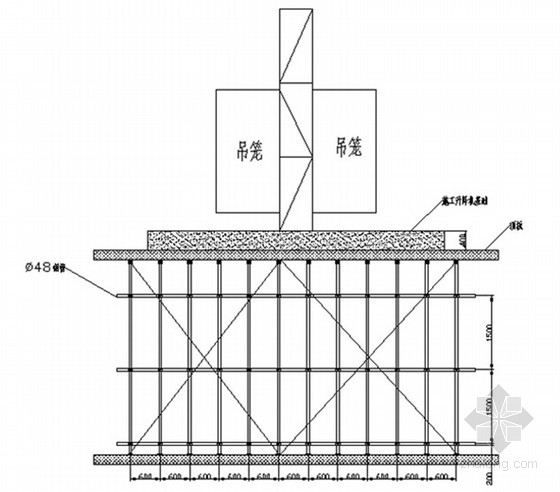
特点: 1.本工艺能一次性将钢管混凝土柱内的混凝土顶升至所需高度,可减少工序环节,降低劳动强度,加快施工进度。 2.本工艺与高位抛落免振捣法相比,可有效避免钢管柱内混凝土不密实、离析等缺陷,确保混凝土质量符合设...
最新回复:huanxiangjia 2016-2-19 
看见笑脸
发表于2016-2-19
2607人浏览
1人跟帖 等级:
来自:主体结构
明确模板工程的标准做法,提高主体结构实测质量及观感质量,内容介绍详细,对于模板施工质量通病防治有参考价值。 …… 模板工程标准做法: 1.测量放线2.配板 3.梁板模板工艺要求 4.墙柱模板 5.加固措施...
最新回复:huanxiangjia 2016-2-19 
看见笑脸
发表于2016-2-18
1463人浏览
1人跟帖 等级:
来自:主体结构
工法特点: 1.大面积楼面混凝土的温度变形控制通过利用无粘结预应力筋分阶段进行张拉以平衡混凝土变形应力,控制混凝土变形的危害。 2.设计与施工密不可分,必须进行深化设计来解决施工中可能出现的问题,需要进行应力应...
最新回复:huanxiangjia 2016-2-18 
leyuqiao
发表于2016-1-26
1337人浏览
1人跟帖 等级:
来自:主体结构
现浇钢筋混凝土结构常由于干缩和降温冷缩引起收缩开裂,而超长大体积混凝土尤为突出。本工法的关键就是采用综合措施解决上述问题,最长环向长度可达830 米,经我们在查新机构进行查新,830 米长环向有约束结构采用无缝施工技术,...
最新回复:huanxiangjia 2016-1-26 
560300
发表于2015-3-16
3152人浏览
2人跟帖 等级:
来自:主体结构
常用临边洞口防护是采用钢管扣件搭设,需花费大量的材料和人工,这种做法不仅搭设方法繁琐,而且长期占用大量的周转材料,租赁费用增加,还需要切割大量的短钢管,加大了工程成本的投入。采用工具式临边洞口防护,不仅安装方便,...
最新回复:qgch7215 2016-1-19 
看见笑脸
发表于2015-12-9
1254人浏览
1人跟帖 等级:
来自:主体结构
工法特点: 1.利用结构梁中的钢骨,承担其全部结构施工荷载,形成超高、大跨度劲钢梁悬挂模板体系,真正实现了结构自承重施工的目的。 2.代替传统的满堂架体支撑体系,减少支撑架体周转料具的投入. 3.解决下部结构承...
最新回复:huanxiangjia 2015-12-9 
560300
发表于2014-3-24
2586人浏览
3人跟帖 等级:
来自:主体结构
钢筋混凝土工程: 1.模板工程 2.钢筋工程 3.混凝土工程 4.预应力混凝土工程 混凝土施工发展趋势: 大力推广应用HRB400 HRB500钢筋、冷轧带肋钢筋等高效钢筋,低松弛高强度钢绞线及钢筋网焊接技术; ...
最新回复:月还泪 2015-11-29 
orange0000
发表于2015-11-4
7327人浏览
1人跟帖 等级:
来自:主体结构
塑料薄壁方箱是我国推广应用的新型高效节能建筑材料,塑料薄壁方箱现浇空心楼板是以轻质的塑料薄壁方箱,在楼板中间以一定规则排列并替代实心楼板中部分不参与结构受力的混凝土而形成空腔,使之形成空腔与暗肋的受力结构。既减轻...
最新回复:huyapei 2015-11-4 
lkr2624735
发表于2009-12-22
1973人浏览
3人跟帖 等级:
来自:主体结构
随着建筑规模的逐步扩大和结构领域的深入研究,建筑设计中出现了大批高层/高耸的建筑造型,大量超厚、超大底板由于结构需要应运而生,这对混凝土施工质量控制提出更高的要求。 采用普通底板大体积混凝土施工工艺,具有工序繁...
最新回复:蒋贤龙 2015-10-29 
yingying521
发表于2010-4-30
1772人浏览
3人跟帖 等级:
来自:主体结构
大模板主要特点:模板采用起重机械整体装拆吊运,施工速度快,效率高;浇筑的混凝土表面平整光滑,综合技术经济效益较好;现浇外墙的外模板可加装饰图案;减少现场装饰工程的湿作业;单块大模板的面积受起重机械起重能力的制约;...
最新回复:蒋贤龙 2015-10-29 
798的距离
发表于2015-10-20
2198人浏览
1人跟帖 等级:
来自:主体结构
本工程对南2、南3、南4、南5、南7、南8和多功能楼,进行加装电梯改造。改造做法为拆除原有建筑物南立面阳台等部分结构,扩建1.5米走廊和电梯井道,结构形式为框架结构。 …… 预控计划: 1.有见证试验工作 2.混...
最新回复:huanxiangjia 2015-10-20 
甘一建钢结构
发表于2015-1-23
3522人浏览
3人跟帖 等级:
来自:主体结构
工法特点: 1、结构方面:解决了施工升降机在特殊工况下的安装、施工难题,通过对一些复杂条件的反复研究计算,成功克服了很多困难条件制约,全面发挥出施工升降机的各项技术性能,为群体高层建筑施工带来了极大的方便。 ...
最新回复:东方龙1968 2015-10-19 
zhangyunwang
发表于2014-9-20
7427人浏览
3人跟帖 等级:
来自:主体结构
工法特点: 取消后浇带,提高了结构的整体性能。还增加了混凝土的密实度,提高了混凝土的强度及抗裂、防渗性能。 …… 工艺流程: 测量放线,确定膨胀加强带的位置→绑扎膨胀加强带钢筋→挂铁丝网分隔→绑扎...
最新回复:高作延1 2015-10-1 
匿名
发表于2015-9-23
2155人浏览
1人跟帖 等级:
来自:主体结构
高大空间中庭钢管桁架平台体系施工工法,11页,主要内介绍工法特点、原理、适用范围、工艺流程、操作要点等,可供参考学习。 …… 特点: 1 钢管扣件桁架平台可替代传统落地式、悬挑式脚手架,用于高空施工有较好的...
最新回复:xialuoke 2015-9-23 
orange0000
发表于2015-9-20
3844人浏览
1人跟帖 等级:
来自:主体结构
薄壁不锈钢管及其新型的环压连接方式具有管材强度高、韧性和耐腐蚀性好、水质有保证以及施工快捷、安全可靠、质量易于保证、使用寿命长、维修费用低等优点,综合效益显著,正在逐渐推广使用。但在施工过程中,如果工序操作要点控...
最新回复:huyapei 2015-9-20 
orange0000
发表于2015-9-20
2083人浏览
1人跟帖 等级:
来自:主体结构
建筑工程主体结构施工阶段,上、下楼层交接处墙、柱等临空部位常因根部模板紧固不到位而导致其与已施工成型的下层墙、柱混凝土结构表面夹贴不严密产生空隙,从而使施工接缝部位混凝土发生错缝、漏浆、夹渣等外观质量缺陷。目前常...
最新回复:huyapei 2015-9-20 
orange0000
发表于2015-9-20
2435人浏览
1人跟帖 等级:
来自:主体结构
随着建筑行业及计算机技术的快速发展,建筑施工也进入了一个崭新的时代。特别是建筑机电工程管线深化设计工作方面,深化设计在项目前期的重要性越来越得以体现。以前机电工程的深化停留在CAD平面图深化设计阶段,对于管线复杂部...
最新回复:huyapei 2015-9-20 
orange0000
发表于2015-9-20
2299人浏览
1人跟帖 等级:
来自:主体结构
立体绿化,即在屋顶、墙体等地面资源以外的空间实施绿化。立体绿化的主要形式是使有不同立地条件的各类植物在人工创造的环境里生长并出现在墙壁、阳台、屋顶及城市各类构筑物表面,或者采取乔木层、灌木层、草皮层等多层次混交的...
最新回复:huyapei 2015-9-20 
orange0000
发表于2015-9-20
1928人浏览
1人跟帖 等级:
来自:主体结构
近些年来因聚丙烯腈混凝土在以上诸多方面的的优势,应用日趋成熟,规模日渐扩大。本工法是深圳证券交易所营运中心项目通过对60天龄期聚丙烯腈纤维混凝土合理掺量和分布均匀度、外加剂及生产施工工艺的研究,解决了地下室外墙、屋...
最新回复:huyapei 2015-9-20 
orange0000
发表于2015-9-18
4069人浏览
1人跟帖 等级:
来自:主体结构
塑料管或多或少地存在诸如线性膨胀系数较大、室内明敷时热胀冷缩弯曲变形、耐温耐压能力随着被传输介质温度的升高和使用年限的增加逐渐下降、室外明敷时容易受阳光紫外线照射而加速老化等不足和缺点。而给水衬塑复合钢管作为建设...
最新回复:huyapei 2015-9-18 